IC21: The Intelligence Community in the 21st Century

Staff Study
Permanent Select Committee on Intelligence
House of Representatives
One Hundred Fourth Congress


--------------------------------------------------------------------------------

I. Overview and Summary

I.  Introduction:  What is IC21?

     During the 104th Congress, the Permanent Select Committee on
Intelligence has undertaken a major review of the role, functions
and structure of the Intelligence Community.  This review has been
called The Intelligence Community in the 21st Century,  or IC21.

     This title connotes one of the major premises of the study: 
that the Intelligence Community (IC) has been largely, and perhaps
inevitably, shaped by the Cold War struggle with the Soviet Union. 
This struggle gave shape to a specific set of "intelligence norms,"
i.e., organizations, products, practices, relationships and ways of
doing business that extend throughout the IC.  Some of these
intelligence norms are likely to be fairly stable, regardless of
U.S. national security policy or the international political
environment.  Others may be outdated and no longer responsive to
U.S. national security requirements as we enter the 21st century. 
IC21 seeks to determine which of these intelligence norms are still
relevant, which need to be either revised or replaced, and what
alternatives there are to be added.

II.  Guiding Concepts

     IC21 has been guided by the following broad concepts:

     The United States continues to need a strong, highly capable
     and increasingly flexible IC.  This need has not diminished
     with the end of the Cold War.  Indeed, the current
     international situation is, in many ways, more complex and
     more difficult to deal with than was the relatively stable
     bi-polar Cold War.  Thus, although we find our national
     security less threatened, the demands for intelligence remain.
     The focus of our national security has changed, but the
     mission of the IC has not changed:  providing timely, assessed
     intelligence to civil and military policy-makers, supporting
     military operations and carrying out certain operations --
     including covert action -- as tasked by legally responsible
     officials.

     A key issue is opportunity, not reform.  As noted, U.S.
     national security interests are less threatened than at any
     time since 1940.  This is a propitious moment in which to
     review major aspects of our national security apparatus and to
     update them in an atmosphere relatively free from crises. 
     Although Congress and the Executive continue to deal with
     issues of the propriety of certain operations, oversight and
     -- occasionally -- legality, these are not the main driving
     issues as they were in the mid-1970s.

     Everything is on the table.  There are no sacred cows in terms
     of organizations, missions or functions.  Neither are there
     any preconceptions as to the "right answer" for the future of
     the IC.

     IC21 is not an exercise designed to reduce, or even to shape
     the intelligence budget.  The goal is to define the type of IC
     that will best meet U.S. national security needs into the next
     century.  The question of whether the price for this type of
     IC is acceptable can only be decided by Congress and the
     Executive during their budget deliberations.

     IC21 is not simply an effort to reorganize the IC.  Any major
     recommendation for organizational change must come only from
     well-defined intelligence or policy-maker needs.

     Although the Committee's purview over the IC is fairly broad,
     it is important to keep its primary focus on those issues that
     might require legislative remedies.  Changes that can be
     carried out by or within the Executive should also be noted,
     as should findings for which no specific recommendations are
     made.

     Any changes must result in improved processes or products to
     be worth the cost of short-lived dislocations.

     To the greatest extent possible, the IC21 process should be
     public and unclassified.  One of the goals of IC21 is to renew
     a national consensus to support a strong and capable IC.  Such
     a consensus must rely on an easily accessible body of
     information.  This is an especially important function for, as
     several witnesses have told the Committee, beyond Congress and
     the Executive, there is no natural constituency for
     intelligence in the United States.

     Finally, the focus must be on where the IC needs to be in the
     next 10-15 years, not a snapshot of where we are today.

III.  Methodology

     After much preliminary staff study -- aided by a set of
detailed questions sent out to over 40 former and current officials
with national security experience, academics, and IC veterans --
the Committee undertook IC21 with the view that it would be most
profitable to look at the IC largely in terms of functions across
the board, rather than agency-by-agency.   It was felt that an
agency-by-agency approach would lead to either a confirmation or
rejection of the status quo without providing a basis for
projecting future intelligence needs and how best to meet them. 
This functional concept has been pursued along a number of parallel
paths.

     Figure 1 indicates the major IC functions as defined in the
IC21 studies.  They are aggregated into three broad groups: 
management, execution and infrastructure. 
 Figure 1:  IC Functional Flow 

                       Figure 1:  IC Functional Flow

     Second, the Committee has held six full committee hearings
devoted to IC21 issues (see Appendix A for a list of hearings and
witnesses).  All but one of these hearings have been held in open
session, in keeping with the envisioned role of IC21 as a means of
building a strong public consensus for intelligence.

     Third, Committee staff undertook the 14 studies presented in
this volume.  As Figure 2 indicates, these studies encompass issues
within the broad areas of direction of the IC; intelligence
requirements; and collection, analysis and operations.  There are
no staff studies specifically on intelligence products, although
these products clearly would be affected by the recommendations in
the staff studies.
 Figure 2:  IC21 Staff Studies 

                       Figure 2:  IC21 Staff Studies

     Fourth, Committee staff has held 12 formal staff panels with
various expert witnesses as part of the background work on the
studies.  Committee staff also conducted numerous interviews with
national security, intelligence and technology specialists in and
out of the government on issues specific to the studies.  (See
Appendix B for a list of staff panels.)

     Fifth, the Committee's extensive work on the FY 1996
intelligence budget authorization also yielded a great deal of
information relevant to IC21 issues.  This work covered both
functional issues and concerns of specific agencies.  The Committee
held 11 authorization hearings, over 20 Member briefings and more
than 200 staff briefings as part of that process.

     Finally, the Committee has kept in close touch with other
efforts that are re-examining the IC.  Chief among these is the
commission headed by former Secretary of Defense Harold Brown and,
prior to him, the late former Secretary of Defense Les Aspin.  Two
members of that commission are also Members of the Permanent Select
Committee on Intelligence.  The staffs of the Committee and the
commission have also been in contact throughout the past year.  The
Senate Select Committee on Intelligence and the Council on Foreign
Relations have also been examining some of these same issues. 
Again, there have been ongoing contact among all of these groups.

IV.  Findings and Recommendations:  Introduction

     At the outset of IC21 we recognized that we were likely to
arrive at a varied set of findings and recommendations, some of
which might entail legislation, while others would not.  Although
our primary focus was and is on areas where Congress can make
positive changes and improvements through legislation, we also did
not want those other recommendations to be omitted.  Therefore,
Findings and Recommendations are divided into two groups, the first
being those that are being introduced as a bill with a view to
action by the Congress, the second being those that we believe the
Executive should consider for action on its own.

     Overarching Concept:  The Need for IC  "Corporateness". 
Throughout the IC21 process we were struck by the success of the
Goldwater-Nichols reforms of the Defense Department in 1986, and we
continually referred back to them.  Key to the success of
Goldwater-Nichols was a central unifying concept:  "jointness," the
idea that the individual services had to improve cooperation and
that a stronger JCS was a major means towards this end.

     The IC as we know it today is the result of half a century of
ad hoc development.  Each agency or organization makes sense on its
own, but if one were to design an IC today from scratch, this is
not likely to be the array that would be chosen.  Only
intelligence, of all major government functions, is carried out by
a very disparate number of agencies and organizations that are
either independent of one another or housed in separate departments
headed by officials whose main concerns are policy, not
intelligence.  Indeed, referring to it as a "community" is more
accurate than most people realize, capturing as it does a sense of
mutuality and independence.  

     We believe that the IC has served the nation well, but that
given the opportunity we now have to review the functioning of the
IC, we can take steps to rationalize some of its functions, to
remove some redundancies, to give it greater flexibility and
responsiveness to policy maker needs and, above all, to give it a
coherence that it has not had.

     Indeed, unless one looks at the intelligence process as an
integrated whole working towards an agreed end, the IC makes little
sense and can become, in its individual parts, self-serving.  

     We have concluded that a major key to an improved IC is the
concept of "corporateness," i.e., for the agencies and employees of
the IC to run, to function and to behave as part of a more closely
integrated enterprise working towards a highly defined common end: 
the delivery of timely intelligence to civil and military decision
makers at various levels.  We believe that this higher sense of
corporate identity can be achieved without sacrificing services or
functions properly designed to serve more parochial intelligence
needs.    

          FINDING:  The IC should put greater emphasis on
          functioning as a true corporate enterprise, in which all
          components understand that they are part of a larger
          coherent process aiming at a single goal:  the delivery
          of timely intelligence to policy makers at various
          levels.

V.  Findings and Recommendations:  Legislative Proposal

     How the IC is organized and managed is a key set of issues. 
Ironically, many of the issues in this category studied by IC21 are
among the oldest that have faced the IC, often without any
conclusive debate.  The longevity of many of these management and
structural issues strongly suggests that difficult choices rather
than definitive answers are the most likely outcomes as the IC
attempts to reshape itself to face new national security issues.

     Rather than deal with these issues individually and repeat
these old debates, IC21 gave considerable thought to the broader
problems of managing the IC.  

     The Role of the DCI.  Looked at in very simple terms,
intelligence consists of three basic tasks:  collection, analysis
and covert action.  But none of these, with the exception of covert
action, is carried out exclusively by one agency.  Nor does the
senior responsible official, the Director of Central Intelligence
(DCI), directly control -- either across the IC or even within its
non-military portion -- all of those agencies that contribute to
these three functions.  Ultimately, the components of the IC become
internecine competitors.  This is most often seen in debates over
budgets, but it also becomes apparent in competition among the
three functions and within each of them as well.

     The role of the DCI is central to this debate.  There are two
stark choices that would remedy this situation:  (1) admit that the
concepts of a DCI, of central intelligence and of competitive
analysis have not worked and return to a more fractionated
intelligence establishment in which components serve their
individual policy customers; or (2) attempt to strengthen the
central aspects of the IC without losing those facets of individual
intelligence service that remain vital.  It is the strong
conclusion of IC21 that this second choice, attempting to buttress
stronger central features while retaining important independent
functions, is the right answer.

          FINDING:  The IC would benefit greatly from a more
          corporate approach to its basic functions.  Central
          management should be strengthened, core competencies
          (collection, analysis, operations) should be reinforced
          and infrastructure should be consolidated wherever
          possible.

     The role of the DCI is of the utmost importance to achieving
this goal.  There are two broad areas at stake:  (1) the role of
the DCI vis-a-vis the President; and (2) the DCI's role within the
IC.

     Several witnesses, including several past DCIs and Deputy
DCIs, noted that the degree to which the DCI visibly commands the
respect and confidence of the President is central to the DCI's
effectiveness.  Realistically, however, there is no way to mandate
or to legislate a close working relationship between these two
officials.  Two suggestions repeatedly surface regarding the status
of the DCI.  The first is that he be made a cabinet-rank official. 
The second is that he be given a fixed term of office.  IC21 does
not believe that either of these has sufficient merit or would
achieve the goal of a stronger DCI.   A third suggestion is that he
be relieved of his responsibilities for the Central Intelligence
Agency (CIA) and elevated to a position over the entire IC.

     Cabinet-rank for officials who are not members of the Cabinet
(i.e., the heads of departments) is merely an honorific.  The
United States does not have Cabinet government; being designated a
member of the Cabinet does not in any real sense increase one's
authority.   It certainly will not enhance or improve the DCI's
relationship with the President, which can only be based on a level
of trust and confidence.  Indeed, mandating Cabinet-rank for the
DCI while doing anything less than creating a true Intelligence
Department -- which no one has contemplated -- only calls more
attention to the disparity between the DCI's responsibilities and
his authority, even with the enhancements being proposed here.

     The importance of the DCI's personal relationship with the
President is also the main argument against a fixed term. 
Proponents of a fixed term argue that this would have several
benefits.  Ten years is often suggested, as has been done with the
Director of the Federal Bureau of Investigation (FBI).  First, and
perhaps foremost, a fixed term would provide for greater continuity
and stability than we now have.  Until 1977, it was not customary
for the DCI to be replaced with a new administration.  That is no
longer the case.  Moreover, the DCI's position has since been
subjected to fairly frequent turn-overs over and above presidential
transitions.  From 1973-1977 there were five DCIs; from 1991-1996
there have been four DCIs.  However, a fixed term could create the
situation where a President would inherit a DCI with whom he could
not work.  Although there would be greater continuity, the DCI's
effectiveness would diminish rapidly, a far greater loss.  As
noted, an analogy is often drawn to the Director of the FBI.  The
comparison is inapt.  First, the ten year term for the FBI Director
was enacted to limit tenure, not to ensure continuity from one
administration to the next.  Second, the DCI is the chief
intelligence officer and deals directly with the President.  The
Director of the FBI is not the chief law enforcement officer; the
Attorney General is and serves at the President's pleasure.  In
sum, a fixed term would not be an improvement.

     The National Security Act states that the DCI is the head of
the IC and the President's principal intelligence adviser.  Neither
of these designations for the DCI is the same as meaningful
control.  If the IC is to achieve a greater degree of centrality
and corporate identity, then the role of the DCI has to be changed. 
The glaring gap between his responsibilities and his authorities
has to be closed to the greatest extent possible.  The DCI should
be viewed as a chief executive officer (CEO) of the IC, with
purview over all of its major functions and a greater degree of
control over budgets, resources and major policy issues that are
common to all agencies.  To do this in a more coherent and more
meaningful manner, the DCI needs managerial resources dedicated to
the operations of the entire IC -- a strengthened Community
Management Staff (CMS) -- and more authorities than are available
to him today.

          FINDING:  The DCI requires additional authorities in
          order to manage the IC as a corporate entity.  Further,
          the DCI can only be effective in his job if he has a
          close working relationship with the President and a
          strong bureaucratic base of his own.  "Cabinet status"
          for the DCI is largely irrelevant and actually may be
          harmful.

     As noted, we do not find major flaws in the broader parameters
of the role of the DCI as currently described in legislation in
terms of his tenure or his responsibility for the CIA.  Indeed, the
testimony of former DCIs and other former senior IC officials all
concur that the DCI needs an agency "of his own" -- i.e., the CIA
-- if he is to have any real power within the IC.  Therefore, we
would expand and strengthen the DCI's authorities to include
organizational changes that follow.

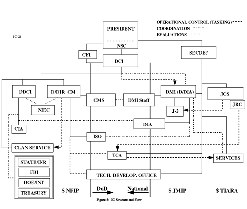
          RECOMMENDATION:  The DCI should continue to serve at the
          pleasure of the President, shall exercise direct control
          over the Clandestine Service, and continue to exercise
          control over the CIA and the CMS via his deputies.

     If the IC is going to achieve the goal of "corporateness," and
if the DCI is going to function as a true CEO, then he should have
a greater say in the selection of his "corporate team" -- the heads
of the other major intelligence components.  Current law requires
that the Secretary of Defense "consult" with the DCI in naming
heads for National Foreign Intelligence Program (NFIP) defense
agencies.  Although it is unlikely that the Secretary of Defense
would nominate someone to whom the DCI is strongly opposed, it is
possible.  Instead, the DCI's concurrence should be sought.  In the
unlikely event of disagreement, the issue could be referred to the
National Security Council (NSC) Committee on Foreign Intelligence
(see below) or, ultimately, to the President.  But the importance
of a truly corporate team requires a stronger DCI voice in this
process.

     A similar case could be made regarding the selection of the
heads of the departmental intelligence units in the Departments of
State, Energy and Treasury.  We concentrated only on the Defense
NFIP agencies because of the larger importance and role of these
entities within the IC, especially in the area of collection, which
cannot be claimed by these non-Defense intelligence offices.  This
aspect of the relationship between the IC and Defense, as well as
the changing, more dynamic use of intelligence in military
operations, warrant this step.

          RECOMMENDATION:  In order to create a corporate
          intelligence team, the DCI should have a stronger voice
          in the appointment of directors of NFIP Defense agencies. 
          The Secretary of Defense should obtain the  concurrence
          of the DCI in these appointments.

     It is a Washington truism that the power to shape and control
budgets is the essential bureaucratic lever for any manager.  The
IC budget is currently divided into three major parts:

          NFIP:  The National Foreign Intelligence Program,
          comprised of the entire CIA budget and the national
          foreign intelligence or counterintelligence programs of
          the Defense Department; Defense Intelligence Agency
          (DIA); National Security Agency (NSA); the Central
          Imagery Office (CIO); the National Reconnaissance Office
          (NRO); the Departments of the Army, Navy and Air Force;
          the Departments of State, Treasury and Energy; the FBI;
          and Drug Enforcement Agency (DEA).

          JMIP:  The Joint Military Intelligence Program, comprised
          of defense intelligence elements that support defense-wide
          or theater-level needs.

          TIARA:  The Tactical Intelligence and Related Activities,
          comprised of the array of reconnaissance and target
          acquisition programs that are a functional part of the
          basic military force structure and provide direct
          information support to military operations.

     This organization may make the overall IC budget more
manageable, but it also has the effect of atomizing it into areas
that are treated as distinct and separate entities, rather than as
parts of a larger whole.  This arrangement makes it very difficult
to oversee intelligence as an end-to-end process or as a corporate
entity.

          FINDING:  IC management has been unable to look at
          activities, budgets and programs on an IC-wide basis. 
          Instead, these have been looked at as three distinct
          blocks:  NFIP, JMIP and TIARA.

     Although the DCI has IC-wide responsibilities, only the NFIP
comes directly under his purview.  Within the NFIP budget, however,
the individual program managers, i.e., those people who are
responsible for developing and overseeing the various NFIP
programs, have a great deal of power, so much so that the NFIP is
more an aggregation of a variety of types of activities (some
agencies, some collection disciplines, some management activities,
etc.) rather than a coherent whole.

          FINDING:  The DCI lacks the requisite authorities over
          the NFIP program managers so that he can manage the IC as
          a corporate entity.

     The DCI's ability to control the NFIP budget is also
complicated by the fact that a substantial number of organizations
included in the NFIP are part of the Defense Department.  Thus, it
is crucial that the DCI be able to work closely with the Secretary
of Defense, whose day-to-day control over intelligence dollars and
personnel actually exceeds that of the DCI.

          FINDING:  The vast majority of the NFIP budget is within
          the Defense budget.  The DCI should have increased
          programmatic control commensurate with his intelligence
          responsibilities, but can only do so with the cooperation
          of the Secretary of Defense.

     If the DCI is going to manage the IC on a more corporate
basis, then he needs greater authority over the program managers. 
Similarly, only the DCI has the IC-wide oversight and
responsibility to look at the budget as a whole, over and beyond
these separate programs.  He should have the authority to transfer
limited amounts of money between NFIP programs or agencies without
the programs manager's approval.  Inevitably, there will be a need
to appeal such decisions.  This can either be done directly with
the Secretary of Defense or, if necessary, within the NSC Committee
on Foreign Intelligence (see below).  

          RECOMMENDATION:  Section 104(d) of the National Security
          Act should be changed so that the DCI can transfer
          limited amounts of money between NFIP programs or
          agencies without the program manager's approval.

     People are the key element of the IC.  All of the collection
capabilities are machines unless there are dedicated people behind
them -- building them, operating them, processing the data,
analyzing it.  In the area of personnel management we find, again,
that there are gaps between the DCI's responsibility and his
current authority.  At present, only the personnel at CIA are under
his control.  If he sees an intelligence need that can best be
filled elsewhere, he can ask for those people, but he cannot be
assured of getting them.  In an era in which much greater emphasis
is being put on multi-disciplinary analysis and on the use of IC
centers (see below), this lack of authority becomes debilitating. 
The DCI should have authority over all NFIP agency personnel,
including the right to assign them where they are most needed.

          RECOMMENDATION:  Expand the authority of the DCI over
          personnel in all NFIP agencies.  This should include the
          ability to detail personnel from one agency to another,
          as needed, to best meet IC and policy maker requirements. 
          It should also expand the DCI's termination authority to
          all NFIP agencies.

     NSC Supervision:  Committee on Foreign Intelligence.  As
noted, the National Security Act designates the DCI as the
President's principal adviser on intelligence.  This act also
places the DCI under direction of the NSC.  The NSC is composed of
four officials:  the President, the Vice President, and the
Secretaries of State and Defense.  The IC is a service
organization.  It has no meaning without its relationship to policy
makers.  Thus, the DCI must have regular contact with the NSC
members.  However, it is not reasonable to expect that they can
give the DCI and, through him, the IC, the kind of regular
executive guidance that was envisioned by the National Security
Act.  Indeed, in each successive Administration, there has been
some sort of sub-NSC group created to deal with intelligence,
reflecting the shortcomings of the NSC itself to carry out this
role.

          FINDING:  Although the DCI should remain under the
          statutory direction of the NSC, that body itself is
          rarely capable of providing the consistent high-level
          guidance that is required.

     Of the various sub-NSC bodies that have been created to deal
with intelligence, the Committee on Foreign Intelligence (CFI)
created by President Ford in 1976 appeared to be among the more
successful, in terms of its stated role, its membership and its
performance.  Interestingly, the Senate Select Committee on
Intelligence proposed re-establishing this group in legislation in
1992, as has the Aspin-Brown Commission.  We believe that the CFI,
properly constituted and empowered, can more usefully serve as a
body to provide the DCI and the IC with the necessary guidance and
policy-maker oversight.  This is not meant to supplant the DCI's
current direct access to the NSC members; it is meant to give the
DCI access on a more regular basis to senior policy-makers who can
give direction to the IC and can listen to and relay IC concerns. 

          RECOMMENDATION:  The DCI is the principal adviser to the
          President for intelligence matters, and operates under
          the direction of the NSC.

          RECOMMENDATION:  Within the NSC, reestablish a Committee
          on Foreign Intelligence (CFI) to provide more regular
          policy guidance, feedback and executive oversight to the
          DCI.  

          RECOMMENDATION:  The CFI would be comprised of the
          Assistant to the President for National Security Affairs,
          who should be the CFI chairman; the Secretaries of State
          and Defense; the Chairman of the JCS; the DCI; and the
          Attorney General, or their deputies.

     Deputy Directors of Central Intelligence.  We envision that
the DCI would  continue to have two major responsibilities:  for
the IC and, within it, for the components that today constitute the
CIA.  All DCIs have found this a broad and sometimes difficult
mandate.  Each DCI has shown a preference for one aspect of his job
or the other.  The ability to delegate is important, although it
has been done differently by virtually each DCI.  The current DCI,
for example, relies on two executive directors -- one for the CIA
and one for the CMS.  Their titles belie their responsibilities. 
The positions responsible for these two large parts of the DCI's
portfolio should be enhanced and their duties better defined.  Some
permanence in the DCI's supporting structure is needed and can be
achieved without losing necessary flexibility.  It also allows for
greater institutional continuity, clearer definition of
responsibilities and improved congressional oversight.

     In order to minimize superfluous bureaucratic layering, one
Deputy DCI (DDCI) should specifically be given day-to-day
responsibility for the CIA, whose enhanced analytical
responsibilities are discussed below.  This would reduce layering,
would continue to give the DCI direct access to his major
bureaucratic and institutional base, and yet would relieve the DCI
of many lesser administrative concerns.  In addition, there should
be a second DDCI for Community Management, for much the same
reasons, with purview over the collection, acquisition and
infrastructure elements of the IC. 

     As noted above, the importance of the DCI's relationship with
the President is such that few prerequisites for nominees should be
imposed.  However, to the extent possible, these DDCI positions
should be considered as professional as well as political
appointments and should go to individuals with extensive national
security or intelligence background.  This is especially important
if a DCI with less such background is chosen.  Given the important
of these positions, the two DDCIs should be confirmed by the
Senate, just as is the current DDCI position.

          RECOMMENDATION:  Create an additional DDCI position.

          RECOMMENDATION:  One DDCI will direct the CIA and, to
          promote corporateness, be responsible for managing all IC
          analysis and production.

          RECOMMENDATION:  To further promote corporateness, a DDCI
          for community management (DDCI/CM) will

          -- oversee the CMS and

          -- be responsible for IC-wide budgeting, requirements and
          collection management and tasking, consolidated
          infrastructure management (in the new Infrastructure
          Support Office -- see below) and system acquisition.  

          RECOMMENDATION:  The DCI will designate one of DDCIs to
          serve as the Acting DCI in his absence.  

     The National Security Act currently mandates that either the
DCI or the DDCI can be an active duty military officer, but at no
time can both be active duty military officers.  We believe this is
a sound provision, and would extend it to include the additional
DDCI as well.

          RECOMMENDATION:  Both DDCIs should have extensive
          national security  experience; both will be confirmed by
          the Senate.  At no time may more than one of these three
          (DCI, two DDCIs) be an active duty military officer. 

     The growth and development of the IC into distinct agencies
has led to unwarranted duplication in what are, essentially,
administrative and logistical functions.  This is not only
duplicative and costly, but also can harm the ability of the IC to
operate as a corporate whole.  There is no reason why many of these
services cannot be merged and run by a single entity -- a new
Infrastructure Support Office (ISO).

          RECOMMENDATION:  Consolidate and rationalize management
          of infrastructure and services of common concern across
          the IC.  These should include at least personnel
          management, community-level training, security,
          information systems and communications, managed by the
          ISO, reporting to the DDCI/CM.

     Director of Military Intelligence.  The Defense Department --
civilian policy makers and military services at all levels -- is
one of the largest components and most important customers of the
IC.  Many of the larger organizational issues noted for the IC at
large are also found within the defense-related part of the IC. 
Enhancing the DCI's authority solves some, but not all, of the
problems.    It is important that the defense intelligence
establishment also have a single official who is both responsible
for and empowered to address these issues.  We believe that this
should be a uniformed officer, carrying the title of Director of
Military Intelligence (DMI).

          FINDING:  In addition to a strengthened DCI, there should
          be a DMI with increased authority over non-NFIP defense
          intelligence programs and direct access to the Secretary
          of Defense.

     Like the DCI, the DMI also requires a bureaucratic and
institutional base, in this case the DIA.

          RECOMMENDATION:  The Director of DIA is to be formally
          designated as Director of Military Intelligence, the
          Secretary of Defense's senior uniformed military
          intelligence officer.

     Some have raised the concern that such a designation, while
buttressing defense intelligence, could over-empower the DMI,
making him a difficult rival to the DCI.  We do not believe that
this is likely, given the broader authority of the DCI for all
IC-wide activities.

          RECOMMENDATION:  The DMI is a senior member of the U.S.
          Intelligence Community and will be accountable to the DCI
          in all matters relative to the IC.

     Clearer responsibility should also be given for JMIP and
TIARA.  Given that these are not national programs, but are focused
more exclusively on military needs, the most logical candidate for
this would be the DMI.  The DMI should not only be responsible for
the JMIP budget, but should also oversee how TIARA is connected to
and interacts with NFIP and JMIP.

          FINDING:  The NFIP, JMIP and TIARA budgets should be
          retained but rationalized.  The DMI should be responsible
          for building the JMIP and overseeing how TIARA connects
          to and interacts with NFIP and JMIP.

     The DMI's authority over budgets is crucial to his success. 
The DMI should have broad authority over the two major parts of the
defense intelligence budget, the Joint Military Intelligence
Program (JMIP) and the Tactical and Intelligence-Related Activities
(TIARA).  The DMI, through his DMI staff, which works closely with
the CMS, ensures that JMIP and TIARA are coordinated with the NFIP
in looking at an overall IC budget.

          RECOMMENDATION:  The DMI will be the program manager of
          the JMIP and program coordinator for TIARA.

     Community All-Source Analysis.  The ability to collect a
variety of information on issues or questions from multiple sources
is one of the major strengths of the U.S. IC.  It gives breadth and
greater credibility to analysis.  "All-source" analysis, properly
done, is of tremendous service to decision-makers.

     The CIA, which would now be directed by the DDCI, was
envisioned by President Truman as a coordinator of disparate
intelligence being produced by other agencies.  The CIA quickly
became a producer in its own right because of policy-maker demands,
the unwillingness of then-existent agencies to respond, and an
aggressive CIA leadership.  Although this is different than
President Truman's vision, we do not believe that this development
should be reversed.  Indeed, it would appear more profitable to
underscore the CIA's analytical role by confirming it as the
premier all-source (i.e., deriving its analysis from all
intelligence collection disciplines) analytical agency within the
IC.  No other agency -- DIA, State's Bureau of Intelligence and
Research (INR) -- can credibly make that claim.  

          RECOMMENDATION:  The CIA's role as the premier all-source
          analytical agency should be reinforced and underscored.

     We concur with the observation of former DCI Richard Helms
that the President needs his own analytical group and that if we
did not have the CIA today we would probably invent it. 
Underscoring this role means more than words.  The CIA should
include not only its analysts, but a significant number of second-
and third-tier exploiters of the various intelligence collection
disciplines.  By bringing them closer together we can achieve a
true synergy between collection and analytical production, rather
than keeping them separate to the point where  they sometimes seem
like competitors rather than parts of a larger corporate process.

          RECOMMENDATION:  To do so, the CIA should house not only
          analysts, but also second- and third-tier exploiters of
          the various collection disciplines, in order to create a
          true synergy between collection and production.

     Confirming this role for the CIA is not meant to diminish the
importance of DIA to its Defense customers.  DIA consistently plays
three key roles in the Defense intelligence process:  as an all-
source analytical and production capability providing products
tailored to Defense officials' needs and in support of military
operations; as part of the larger IC competitive analyses; and
management of Defense intelligence production so as to reduce
unnecessary duplication.  DIA's significant all-source role argues
strongly that it, like CIA, should include second- and third-tier
exploiters of the various collection disciplines. 

          RECOMMENDATION:  The DIA's role as the focal point for
          management of Defense all-source analysis and production
          should be reinforced.  (No legislative change.)  DIA
          should also house second- and third-tier exploiters of
          the various collection disciplines.

     Nor should this role for the CIA diminish the role played by
other departmental intelligence entities for their specific
consumers.  They are also necessary to the concept of competitive
analysis, which we believe is useful to decision-makers throughout
the government.  Moreover, each of these offices also contributes
to IC-wide analyses, such as National Intelligence Estimates.

          RECOMMENDATION:  State/INR, Energy's Intelligence Office
          and the Treasury's Intelligence Office should continue to
          be the primary analytical producers for their
          departmental consumers.  (No legislative change.)

     Community Collection.  Many people, when they think about
intelligence, think about spies or perhaps satellites --
collection.  Collection by a variety of secret methods is, in large
measure, what sets the IC apart from other information sources --
either within the government or in the private sector. 

     A.  Clandestine Service. Clandestine activities are what most
people think about when they hear the word "intelligence:"  Human
Intelligence (HUMINT) collectors (spies) and people carrying out
covert action.  These capabilities are housed primarily, but not
exclusively, in the CIA's Directorate of Operations (DO).  This
aspect of the IC remains the most controversial, the most charged
politically, and frequently a major area of contention in
congressional oversight.

     We did not, as part of IC21, take up the issue of the
propriety of these activities.  There will be a continuing need for
HUMINT, as a major means of getting access to plans and intentions. 
Similarly, we cannot see any reason to forswear the ability to
undertake covert actions completely.  This capability remains
necessary and -- when used properly within the context of
well-defined policy and operational goals, executed by legally
responsible officials and with due executive and congressional
oversight -- it remains important.

          FINDING:  The U.S. will continue to need the capabilities
          to collect HUMINT, especially as a major insight into
          intentions and plans of hostile states or groups, and to
          carry out covert action.

     These are difficult tasks and should only be undertaken by
individuals who not only have the unique abilities required, but
who adhere to the highest professional standards and all legal
requirements.

          FINDING:  The U.S. requires a Clandestine Service of the
          highest professional standards and competence.

     Clandestine collection entails many more risks than the
technical collection disciplines.  Therefore, how and when it is
used must be highly selective, responding to carefully screened and
highest priority requirements.

          FINDING:  Clandestine collection must be focused
          principally on select, high priority national and
          military requirements.

     Clandestine collection is also a difficult capability to use. 
It cannot be kept "on the shelf" and called out whenever needed. 
There must be some minimal ongoing capability that can be expanded
in response to consumer needs.  This has become increasingly
difficult for the DO as the State Department, in response to budget
stringencies, has scaled back its posts overseas, which provide the
main base for clandestine collection.  Former DCI Woolsey noted
that U.S. intelligence was going from "global presence" to "global
reach."  This scaled back status makes it much more difficult for
clandestine services to respond to unanticipated collection
requirements.

          FINDING:  It is necessary to have at least a minimal
          clandestine presence in most countries (a "global
          presence") so as to maintain a broader base-line
          contingency capability and to respond to transnational
          collection requirements.

     Having accepted the necessity for maintaining and, on
occasion, using covert action, we also recognize that these
operations require the most careful management, expertise and
coordination.  As one witness at an IC21 staff panel observed,
these are the operations that inevitably land the DCI in trouble. 
This tendency can be minimized if careful attention is paid to the
command and control of clandestine operations.

          FINDING:  Clandestine operations require an
          extraordinarily high level of management attention,
          expertise and coordination.

     Under the current arrangement, the Deputy Director for
Operations (DDO) is three layers removed from the DCI, having
between them the Executive Director of the CIA and the DDCI.  Even
though the DDO can, presumably, see the DCI whenever necessary,
this distancing is too great.  

     The observation about the DO being the place that most often
lands the DCI in trouble rings very true.  It should be made into
a separate service and brought under the DCI's direct control. 
This single Clandestine Service (CS) should include those
components of the Defense HUMINT Service (DHS) that undertake
clandestine collection as well.  We do not believe that this
division is of utility in terms of collection.  We are especially
concerned that the Defense Department is unlikely to give DHS the
kind of authorities, attention, resources and career development
incentives that it will need to become a truly capable clandestine
human collection enterprise.  Just as intelligence struggled for
years to be recognized as a career speciality within the armed
forces, DHS faces the same challenge.

          FINDING:  The Defense Department is unlikely to give DHS
          the kind of attention, resources and career development
          incentives that it will need to become a truly capable
          clandestine human collection enterprise. 

     We believe that these two entities should be consolidated into
one CS under the operational control of the DCI.  This is not meant
to preclude the Service Intelligence Chiefs from carrying out those
clandestine collection activities specifically related to the
tactical needs of their Military Departmental customers or field
commanders.

          RECOMMENDATION:  The Clandestine Service will be
          responsible for all clandestine human collection (current
          CIA/DO and DHS) and shall be under the direct control of
          the DCI.

     The unique activities of the CS are such that it cannot be
managed within the IC as simply another collection discipline.  It
is the only arm of the U.S. government that has as a principal
mission the breaking of foreign laws, something it does on a daily
basis around the world in the face of concerted counterintelligence
efforts by hostile foreign governments.  Managing the CS is
markedly different that managing satellite-borne reconnaissance
systems or listening posts on U.S. soil.  

     Moreover, the CS is more than an intelligence collection
entity.  As several former DCIs have pointed out, the clandestine
services are also the DCI's most important "action arm," not only
running covert action programs at the direction of the President (a
function whose utility we believe will continue to be important),
but also in managing most the IC's liaison with foreign government
leaders and security services.  Each former DCI agreed that these
activities demand the DCI's close executive control.  Finally,
history has shown that the DCI cannot avoid responsibility for
being informed about and overseeing the activities of clandestine
services.  Accordingly, he must avoid any management structure that
attenuates his command and control of the CS. 

          FINDING:  The mission and management of the Clandestine
          Service are unique and demand direct accountability to,
          and control by, the DCI.

     Given the political and administrative problems raised by
clandestine operations and covert action, their bureaucratic tie to
the DCI must be made more direct.  At present as many as two or
three officials are between the DCI and the CIA's DO.  Moreover,
there are no compelling substantive reasons for the DO to be part
of the same agency as the analytic Directorate of Intelligence
(DI).  This is largely the product of historical accident and the
bureaucratic aggressiveness of DCI Walter Bedell Smith, who
expanded CIA activities into both operations and analysis in the
early 1950s, when other agencies failed to meet policy-maker needs
in these areas.  Indeed, there is a certain "apples and oranges"
aspect to attempting to manage both of these functions within one
agency.

          FINDING:  The current arrangement of housing analysis and
          operations in one agency is the result of historical
          accident rather than well-thought needs.  It complicates
          the management of both activities.

     We believe that having the CS as a distinct entity, under the
direct control of the DCI, would rationalize the structure of the
CIA as the premier all-source analytical agency and reinforce the
unique and highly valuable contributions of clandestine operators. 
The CS and the CIA can continue to be housed in the same building. 
However, both the CS and the CIA could also be managed more
effectively if they each had one major task.

          RECOMMENDATION:  The Clandestine Service is to be
          separate from CIA, reporting directly to the DCI.

     Clandestine collection and covert action is not a place for
amateurs.  The CS should be managed by a director chosen by the DCI
from among the ranks of career intelligence professionals. 
However, this is not meant to limit the choice only to those who
have served in the CS.  In a more corporate IC, there will be
senior managers who are not career CS employees but whose
managerial skills and breadth of experience may make them suitable
candidates to be the Director of the CS.  After much debate, we
recommend that this individual not be subject to confirmation by
the Senate.  The sensitivity of this position is such that the DCI
must be free to choose the man or woman upon whom the utmost
reliance can be placed.  Senate confirmation raises a number of
other political considerations that might best be avoided. 

          RECOMMENDATION: The Director of Clandestine Services is
          to be selected by the DCI from among intelligence
          professionals.

     We recognize that the CS undertakes some activities
specifically designed to support military operations.  Indeed,
there has been a growing emphasis on this since the Gulf War.  This
is an important activity and should not be curtailed.  Nor is that
the implication of the creation of a single CS, including elements
of DHS.  In order to assure that there is someone within the CS who
is responsible for and extremely knowledgeable about such
operations, there should be a Deputy Director of two-star rank for
these activities.

          RECOMMENDATION:  There will be a Deputy Director of the
          Clandestine Service, who is a two-star professional
          military intelligence officer, responsible for
          coordination between the Clandestine Service and the
          various military and Defense components.

     The CS should continue to be seen, however, as an IC asset. 
HUMINT is and should be part of a larger IC-wide collection plan. 
Thus, the CS should be responsive to and tasked by the IC-wide
collection management process under the DDCI/CM.

          RECOMMENDATION:  For intelligence collection tasking and
          requirements purposes, the Clandestine Service should
          respond to the IC-wide collection management process.

     Under current arrangements, the DO receives necessary
technical support from offices within the CIA's Directorate of
Science and Technology (DS&T).  These offices should be made
organic to the CS, as should its administrative support offices. 
The remaining DS&T offices would come under the new Technology
Development Office or new Technical Collection Agency, both of
which are discussed below.

          RECOMMENDATION:  The Clandestine Service should have
          organic administrative and technical support mechanisms
          that are critical to its unique functions and essential
          to its success.

     B.  Technical Collection Agency.  The most common criticism of
the current collection management process, and one in which we
concur, is that it is dominated by "stovepipes," i.e., types of
collection that are managed so as to be largely distinct from one
another.  There are several net results.  First, the collection
disciplines become competitors for resources driven as much by
bureaucratic imperatives as by a broader national need.  Second, it
also becomes much more difficult to make educated IC-wide decisions
about overall collection needs and the resources required to
implement them.  Breaking down the "stovepipes" was one of the more
frequently heard suggestions during the IC21 process.  Remarkably,
the current trend within the IC seems to be one that would
reinforce the stovepipe approach, further compounding problems for
little or no perceived gain.

          FINDING:  The collection management process at the IC-wide
          level does not routinely integrate the discipline
          stovepipes.

     The stovepipe system also has a direct effect on analysis. 
Ideally, there should be some sort of synergy among the various
types of collection.  A HUMINT report should lead to an image as a
means of confirmation; an intercepted signal should confirm a
HUMINT report, etc.  Instead, there are added difficulties in terms
of analysts being able to use all types of intelligence on a
routine basis.  A system that should be highly synergistic is,
instead, fragmented and internally competitive.  This will become
increasingly important as the complexity of national security
concerns grows.  Transnational issues are proving to be more
difficult to address than the bipolar rivalry of the Cold War.  Few
issues appear to have the luxury of time in which to be addressed
and resolved.  A greater emphasis on all-source collection
management appears to be a strong necessity.

          FINDING:  There is still very little collection synergy
          among the intelligence collection stovepipes.  As
          national security requirements become increasingly
          complex and demanding (transnational issues, short
          timelines), all-source collection management will be
          critical to future success.

     Production is, to some degree, taken as a given.  Within
production the lines as to what constitutes analysis is becoming
increasingly blurred.  Signals Intelligence (SIGINT) and Imagery
Intelligence (IMINT) analysts do analysis:  they analyze signals
and images for contents and meaning.  Much of their work is an
internal IC function, often (although not always) destined to go
from one analyst to another.  But this is different than
"all-source" analysis, the synthesizing of all available intelligence
into a finished product, more clearly destined to go to a civil or
military policy-maker.  There is a great need to sort out these
roles and give them clearer meaning within the IC and in
relationship to one another.

          FINDING:  There is little IC attention given to
          production management.  The line between SIGINT and IMINT
          analysis and reporting and all-source analysis and
          reporting is becoming increasingly blurred.
  
     In order to break down the collection stovepipes it is
necessary to increase responsibility at the DCI level.  If the
various types of collection are not managed more coherently across
the board, current problems will compound and efforts to achieve
collection synergy and to improve all-source analysis will erode
further.  Such an approach is inherent in dealing with the IC as a
more corporate entity.  This should come under the DCI, with day-to-day
responsibility falling to the DDCI/CM.

          RECOMMENDATION:  Under the DDCI for Community Management,
          create an IC-wide management organization responsible for
          directing all collection tasking (HUMINT and technical)
          to the appropriate agencies and ensuring a coherent,
          multi-INT approach to all collection issues.

     Similarly, the three technical collection activities (SIGINT,
IMINT and Measurement and Signatures Intelligence -- MASINT) should
stop being separate and competing agencies.  They represent parts
of a larger whole and should be managed as such.  The link between
the analysts who first receive information from the technical
collection activities and the all-source analysts is crucial. 
However, there are other "exploiters" who can be housed directly
with the all-source analysts.  This would improve the synergy
between collection and analysis, improve the all-source nature of
analysis, and clarify blurring between different types of analysis
and reporting.  This can be done without putting at risk the unique
services they perform for the military during time of war. 
Maintaining the designation of a "combat support agency," which
currently applies to NSA, is appropriate.

          RECOMMENDATION:  Consolidate technical collection
          activities (SIGINT, IMINT, MASINT) and first-tier
          exploitation into a single agency -- the Technical
          Collection Agency (TCA).

          RECOMMENDATION:  The TCA will be designated a Type-3
          Combat Support Agency.

          RECOMMENDATION:  The Director of TCA will be either a
          senior defense or intelligence civilian or three-star
          general officer.

     C.  Technology Development Office.  The IC has gone from being
a leader in all aspects of technology crucial to its work, to being
a leader in just a few -- primarily the technical collection
systems but not the various types of data processing systems used
to support them and other intelligence activities.  As with all
else in the IC, budget pressures are forcing rather difficult
choices on managers across the entire range of activities.  These
pressures often lead managers to worry more about answering the
immediate needs than to plan for the future.  Research and
development (R&D) funding is a victim of this mentality, as the
immediate effects of  deferring R&D are neither seen nor felt. 
However, given the strong dependence that the IC has on technology,
this is an extremely short-sighted view.  Several issues are at
stake, among them:  the ability of the IC to continue to be
responsive to policy maker needs, especially in a world that is
more politically complex and therefore requires a more flexible
collection and processing base; rapid changes in information
technology that offer the near-term possibility of increased
production and increased synergy at decreased costs; and a
necessary means of dealing with burgeoning sources of information,
including an explosion of available open sources.

     At the same time, the stovepipe mentality of the IC has also
led to a situation in which there is duplication and increased
costs that could easily be avoided.  Commonality in items now as
basic as data processing remain the exception rather than the rule. 
The net result of these trends is an IC that has gone from being a
leader to one that looks increasingly antiquated.

          FINDING:  Tight budgets have squeezed R&D funding.  The
          IC must manage R&D funding to ensure that the highest
          priority issues -- especially those requiring long lead
          times -- are being addressed and that there is no
          unnecessary duplication.

     There is unwarranted duplication in the IC's acquisition
system for reconnaissance capabilities. The current system creates
competition that exists more for bureaucratic reasons than for any
developmental advantages.  A merger of these responsibilities would
also be a major gain.

          FINDING:  The IC's current system for acquiring
          reconnaissance capabilities has unwarranted duplication,
          creating competition for bureaucratic rather than
          developmental reasons.

          RECOMMENDATION:  Create an intelligence acquisition
          agency to perform community research and development
          functions, called the Technology Development Office
          (TDO).  TDO will comprise portions of the current NRO,
          Defense Airborne Reconnaissance Office (DARO), CIA/DS&T,
          et al.

     Some argue that such an organization will undercut the main
strength of the NRO, its cradle-to-grave management of overhead
systems.  We believe that this view overstates the NRO's role,
which is direct in terms of R&D and acquisition, but indirect in
terms of the actual operation of these systems, which are carried
out by contractors.  We wish to emphasize the NRO's direct
strengths.

     National Intelligence Evaluation Council.  The IC has not been
very capable in terms of being able to evaluate its own
intelligence process from end-to-end.  This is, admittedly, a
difficult task, in part because there seems to be little respite in
which to do it.  It is also difficult because there are few useful
guidelines for assessing production. Customer surveys, although
constantly used, are rather pointless.  Self-assessment is, at
best, difficult.  IC managers are constantly hard put to answer: 
"What is the value added of intelligence to the policy process?" 
The fact that the question is asked at all is troublesome.  The
fact that it cannot be answered is worse.

     This type of evaluation is an extremely important task. 
Without being able to assess whether or not tasking and collection
respond to policy-maker requirements, whether analysis is making
the best use of resources, the IC process becomes rather pointless. 
It appears to move more on inertia rather than on need.  Being able
to do better is now even more important as resources either remain
stable or shrink.  Without a better feel for the weak points and
strong points across the entire IC process, all parts will likely
suffer, as will the contribution of intelligence to policy making.

          FINDING:  The IC needs to improve its ability to evaluate
          the intelligence process from end-to end, i.e., to be
          better able to relate requirements, tasking, collection
          and production.
  
     The IC already has an office charged with evaluations, as part
of the National Intelligence Council (NIC).  This appears to be the
logical group to charge with the broader types of evaluation
responsibilities noted above.  Consonant with its new mandate, this
staff should be separated from the NIC and made a National
Intelligence Evaluation Council (NIEC) in its own right.  The
remaining part of the NIC, i.e., the National Intelligence Officers
(NIOs), would become part of the new CIA, as noted above.  The head
of this new council would be appointed by the DCI, as is the
current head of the NIC, and would report directly to the DCI, so
that the DCI can readily oversee and assess the entire intelligence
process.

          RECOMMENDATION:  Establish a National Intelligence
          Evaluation Council (NIEC) to evaluate IC-wide collection
          and production, and to interact closely with the
          requirements, collection management and resource
          management functions of the CMS.  

          RECOMMENDATION:  The head of the NIEC will be appointed
          by and report directly to the DCI.

     Civilian Intelligence Reserve Program.  The ability to "surge"
analytical resources and to capitalize on expertise residing
outside of the IC will be key to the effectiveness of the IC as it
enters the 21st Century.  No requirements process can predict all
of the issues that are likely to be of paramount interest to
policy-makers in the course of any year.  Surveys are, by and
large, not useful to policy-makers.  As Lt. General Brent Scowcroft
observed, senior policy makers do not know what they need from the
IC until they need it.  In a national security environment where
there is not one predominant focus, as was the case during the Cold
War, flexibility becomes a central necessity for the IC.  As one of
our witnesses, Ambassador Robert Kimmitt, former Under Secretary of
State for Political Affairs, has stated, the IC will have to be an
inch deep and a mile wide, with the ability to go a mile deep on
any given issue.  To do this, the IC must maintain some level of
knowledge on all nations/issues at some level of detail -- an
intelligence "base."

          FINDING:  The IC must be able to "surge."  As Ambassador
          Robert Kimmitt put it succinctly, IC coverage must be an
          inch deep and a mile wide, with the ability to go a mile
          deep on any given issue.

          FINDING:  The IC will be required to maintain some level
          of knowledge on all nations/issues at some level of
          detail -- an intelligence "base."  The capability to
          support this base or to "go a mile deep" need not be
          self-contained within the IC.

     The CIA already has in place procedures enabling it to
increase its capabilities, using former employees on a temporary
basis.  This capability should be augmented into an IC civilian
reserve program, in which experts not in the IC (in academia,
business, etc.) can be kept on retainer both to provide ongoing
information on warning and trends and to be utilized during crises
to augment IC assets.  Such a program has several advantages. 
First, it allows the IC to concentrate on the current areas of
highest priority and concern while knowing that someone who is
attuned to IC needs is also keeping an eye on areas that are
quiescent.  Second, the ability to bring in experts who understand
local politics and players in a region is especially important
during the early phase of a crisis, when the IC is often scrambling
to come up to speed.  Many of these experts can be kept on retainer
and be asked to do unclassified work, that, in effect, will provide
the IC with more knowledgeable access to the open sources.  If the
"reservists" are asked to work within the IC for extended periods,
then some thought has to be given to the issue of clearances and
polygraph requirements.  A flexible approach to these issues would
best serve the overall interests of the IC and the nation.

     There are many ways a civilian reserve program could be run. 
To be successful, however, such a program would probably have to be
developed and managed at the Community level, so as to properly
address administrative concerns (security, pay, etc.) as well as
substantive concerns -- assuring that duplicative expertise is
minimized and agencies do not compete for resources to support
individual reserve programs.  Some developmental work on a reserve
program is being done at this time in the NIC.  This work should
continue and a pilot program should be enacted in the near term.

          RECOMMENDATION:  An IC-wide civilian reserve program
          should be established, whose participants can provide
          ongoing trends and warning information and can be
          utilized to "surge" as part of the IC, thus augmenting
          existing IC assets, especially during crises.

     Congressional Oversight.   IC21 also examined the way in which
Congress handles its oversight responsibilities for intelligence. 
Although these findings and recommendations would not require
formal legislation, they would require changes in the rules of the
House.

     The current oversight system is 20 years old, a direct product
of major congressional and executive branch investigations that
revealed a number of shortcomings in both how the IC functioned and
in how Congress pursued intelligence oversight.  This is important
to note as it helped foster the view that intelligence and
intelligence oversight were in some ways extraordinary issues, to
be handled in amanner different from other government functions. 
Not surprisingly, we believe that the current oversight system has
responded well to these concerns.

          FINDING:  The current Congressional oversight system is
          a product of extraordinary disclosures of the 1970s and
          their sequels.  It has responded well to the concerns
          that fostered it. 

     Having said that, we are also aware that this continuing view
of intelligence as something extraordinary also puts pressures on
intelligence oversight that are unique.  All oversight is a mixture
of two roles:  investigator and advocate.  Being an advocate for
intelligence may be more difficult than for other government
functions not only because of the secrecy that is involved, which
limits what can be said, but also because of the ongoing suspicion
about intelligence agencies and activities in some quarters. 
Several former DCIs pointed out that intelligence, unlike other
federal programs, has no natural constituency.  Therefore, if
Congress is not prepared to act as an advocate when that role is
proper and necessary, no one else will.  This aspect of oversight
is especially important if the IC and its necessary activities are
to enjoy even a minimal amount of public support.

          FINDING:  Oversight embodies two roles:  investigator and
          advocate.  HPSCI advocacy for the IC is essential but
          difficult given the secret nature of intelligence. 
          Intelligence, unlike other federal programs, has no
          natural constituency; therefore, Congress plays a vital
          role in building public support.

     As with all oversight, there is an inherent tension between
the amount and type of intelligence information that Congress
believes it needs and what the Executive is willing to provide.  In
the case of intelligence, this is exacerbated by the perception
that Congress is the major source of leaks.

          FINDING:  Existing oversight identifies and continues to
          address problems within the IC.  Inherent tensions
          between executive and legislative branches cause
          resistance to the free flow of information to the
          Congress.  This is exacerbated by the perception that
          Congress is the major source of leaks of classified
          information.

     A joint committee on intelligence has been suggested as one
remedy.   We do not believe that it would substantially reduce the
number of Members and staff with access to classified information. 
The House and Senate Intelligence Committees also do not pursue
identical agendas.  Given the breadth and diversity of the IC, this
two committee oversight structure is a strength, as it broadens
oversight.  A joint committee would reduce the effectiveness of the
current checks and balances.  Finally, it would continue to
underscore the view that intelligence is so different that it must
be handled in an extraordinary manner.

          FINDING:  A joint intelligence committee would not
          improve the quality of oversight and would erode existing
          legislative checks and balances.  It would reinforce the
          perception that intelligence oversight is different and
          that intelligence programs require different levels of
          scrutiny. 

     Dealing with the intelligence budget raises some problems.  As
the IC budget is classified -- both the overall figure and
virtually all of the component parts -- it is masked by being made
part of the defense budget.  Intelligence, in the House is
authorized separately, and then appended to the defense
authorization.  Should that budget become subject to reductions,
the intelligence budget often has to give its "fair share," not for
reasons inherent to the value of intelligence programs, but largely
because of this budget mechanism.  This puts intelligence at a
disadvantage.

     Within the appropriations process, intelligence is dealt with
in the National Security Subcommittee.  This also can result in
intelligence being dealt with as an appendage of defense issues
rather than as a separate government function.  This process also
results in a confused Congressional message on intelligence because
of the variety of reasons for which budget decisions may be made.

          FINDING:  The current Congressional budget process puts
          intelligence programs at a disadvantage, making them
          subject to arbitrary cuts because the intelligence budget
          is subordinated to the defense budget.

          FINDING:  The current budget process can also result in
          a confused Congressional message to the IC.
  
     A major facet of the way in which the current intelligence
oversight system was created is the requirement that tenure on
HPSCI be limited.  This rule was adopted because it was felt that
past Congressional overseers had become too close to the IC
agencies over prolonged periods of time and had lost a certain
critical objective edge.  Twenty years later, the costs of such a
system are also apparent:  a rapid turnover in membership and in
some senior staff, diluting the capabilities of the Committee. 
There have been six chairmen of HPSCI over the last six Congresses. 
The oversight system is now sufficiently mature to allow, at a
minimum, an extension of the tenure rules and serious consideration
of ending tenure limits.

     Similarly, thought should be given to changing the Committee
from a select committee to a standing committee.  Again, this
raises important questions, including the degree to which this will
be an attractive assignment; the continued utility of having
"cross-over" Members, particularly from Appropriations; and whether
it is better to have the Speaker make appointments to the Committee
or leave it to the majority caucus.

          RECOMMENDATION:  The House should give serious
          consideration to either extending or removing tenure
          limits on HPSCI.

          RECOMMENDATION:  The House should consider making HPSCI
          a standing committee, with appointments still made by the
          Speaker.

VI.  Findings and Recommendations:  Non-Legislative

     As noted above, the IC21 staff studies made numerous findings
and recommendations that would not require legislative action.  We
believe that these will also support the findings and
recommendations made above, improving the overall performance of
the IC.  They are listed here with brief introductions as to the
nature of the issues being addressed.  Broader and more detailed
discussions can be found in the staff studies themselves.

     Intelligence Community Management:  Production.   Production
is, in effect, the end of the intelligence pipeline.  It is what
the policy makers see, a product (usually written), drawn from the
various pieces of collected intelligence and leavened by the
analyst's own knowledge and experience.

     We must face the fact that analytical resources are unlikely
to grow substantially.  Although the decline of the past several
years in intelligence budgets was halted in 1995, there is no
guarantee that this is much more than temporary relief.  Moreover,
it is not likely that there will be large increases in intelligence
spending over the next several years.  Therefore, the IC needs to
manage smarter, finding new ways to do more with less.  Ongoing
rapid technological change in information management may offer new
possibilities and advantages.  The ability to move information,
including intelligence, between and among disparate and
widely-separated work stations could increase synergy above the actual
number of current analysts.  Linking analysts of all sorts in this
manner may also be helpful, in effect creating a "virtual
analytical environment."

          FINDING:  Analytical resources are unlikely to grow
          substantially.  Increased and more synergistic
          productivity may be possible through the use of a
          "virtual analytical environment."

          RECOMMENDATION:  Create a "virtual analytical
          environment" within the IC that electronically links
          collectors, exploiters, analysts and customers, as
          appropriate, and maximizes the productivity and
          responsiveness of individual analysts.

     Intelligence Community Management:  Programming and Budgeting.
We envision that the DCI will execute most of his authority over
the NFIP (and the broader IC budget) through the CMS, under the
DDCI/CM.  It is essential that this staff have both program
analysis and evaluation capability and comptroller capability if
these responsibilities are to be carried out effectively.  These
capabilities will also be meaningless unless there is also the
authority to withhold funds.

          RECOMMENDATION:  The CMS should have a program analysis
          and evaluation (PA&E) capability and a comptroller
          capability, with the authority to withhold funds.

     Understanding or managing the IC is complicated by its rather
rigid and stratified  budget structure.  Each asset, activity or
program is allotted to one and only one IC responsibility.  This
makes it very difficult to achieve synergies from collection
systems, processing and even analysis.  It also tends to skew the
IC budget, giving even greater emphasis than is the actual case to
defense-related activities, which of necessity remain dominant.  It
is important to understand that most IC assets and activities fall
into multiple categories and should be tracked accordingly.  This
would create a capability that is currently lacking:  being able to
ascertain rapidly and with some assurance of accuracy what part of
IC resources is devoted to specific issues, such as non-proliferation,
East Asia, etc.

          RECOMMENDATION:  An IC programming, budgeting and
          accounting system must be developed that allows the IC to
          build budgets and track expenditures in multiple
          categories.

     Intelligence Community Management:  Personnel.  To repeat,
people are the key element of the IC.  All of the collection
capabilities are meaningless machines unless there are dedicated
people behind them -- building them, operating them, processing the
data, analyzing it.

     We find that the vast majority of people who work in the IC
are extremely dedicated to their work and to its value to our
national security.  The system within which they work, however, is
not designed to get the very best out of them in terms of either
bureaucratic rules or the type of leadership (rather than
management) that breeds elan.

     Curiously, the IC tends to manage personnel much like it
manages collection, through an array of "stovepipes" that are
bundled together but are not well inter-connected.  It is very
difficult for either managers or analysts themselves to move about
within the IC.

          FINDING:  In order to create a more corporate culture and
          reduce the stranglehold of stovepipes, the barriers to
          lateral movement within the IC need to be broken down.

          FINDING:  The IC requires personnel reform to enable it
          to change its skill mix and to streamline its workforce
          in an era of reduced government spending.
     
          FINDING:  Improving the personnel system will improve
          morale, public relations and accountability.

          RECOMMENDATION:  Implement the recommendations of the
          Jehn Report.

          RECOMMENDATION:  Standardize the SES system within the
          IC, and strongly encourage rotational assignments as a
          prerequisite for SES rank.  Include rotations to industry
          as part of the IC rotation system.
     
          RECOMMENDATION:  Introduce legislation, coordinated with
          OMB, to authorize a pilot program to reduce the number of
          IC personnel further, to include lifting of the 2% waiver
          and directed retirement of retirement-eligible personnel.

     Intelligence Community Management:  Research and Development. 
Under the corporate concept we advocate, the DCI should be
responsible for adapting advanced technology to IC needs on short
notice.  At two different full Committee hearings we were struck by
expert testimony decrying the inability of the government to move
quickly to purchase technology on a timely basis.  The DCI needs a
better mechanism to find short-cuts in this process.

          FINDING:  The DCI needs a mechanism to fund good
          technology ideas on short notice.  Venture capital
          concepts should be part of this process.

     A glaring example of current IC problems is information
systems.  There is a veritable plethora of systems, standards and
acquisition processes.  If we are going to move towards an IC that
has greater inter-operability among its disparate parts, and tries
to achieve "virtual analytical communities" tied together
electronically, then a common system is a bedrock requirement.

          FINDING:  The IC needs greater standardization of
          information systems, including acquisition by a single
          organization.  There also needs to be a budgetary
          mechanism to recapitalize these systems cyclically to
          keep everyone interoperable and up-to-date.

          RECOMMENDATION:  Centralize planning and budgeting for IC
          R&D, to include administration of the National Technical
          Alliance with the National Imagery Display Lab and the
          National Media Lab.

          RECOMMENDATION:  Establish a Military Exploitation of
          Reconnaissance and Intelligence Technology (MERIT)-like
          program for the IC to fund "good ideas" and to exploit
          technological targets of opportunity.  The DCI should
          also use his Contingency Reserve Fund for such
          opportunities.

          RECOMMENDATION:  Centralize development of standards and
          protocols for the IC.  Establish a budgetary mechanism
          for rapid and continuous update of information systems
          and automation technologies.

     Intelligence Community Requirements.  Intelligence is a
service.  Its entire raison d'etre is to provide a product to or
undertake operations for other parts of the government.  Unless the
IC is responding to policy maker requirements, it simply is not
doing its job.  Requirements are the prime cause of all other IC
activities:  they drive collection, tasking, analysis and determine
the allocation of resources throughout these processes.  Getting
control of requirements is fundamental and urgent.

     The requirements process has traditionally been one of the
most vexing aspects of intelligence management.  Ideally,
intelligence producers would like to have guidance from the highest
policy makers possible.  The interagency process, which includes
the IC, informs the IC as to policy maker concerns.  Over the years
the process has been haphazard and imperfect.

     The world of the late-20th and early-21st centuries presents
new stresses for the requirements process.  A Cold War-based IC had
the comfort of knowing that its  major emphasis was the struggle
with the Soviet Union and all that this entailed.  The absence of
this overwhelming requirement has resulted in a growing tangle of
new requirements, none of which has the same lasting primacy. 
Issues are the "highest priority" for rather short periods of time. 
At the same time, the resources available to the IC to deal with
current and new requirements continue to decline.  The need for a
better requirements system is clear.

          FINDING:  The IC needs an overarching concept for
          coordinating intelligence requirements, especially when
          faced with declining resources, a growing customer base,
          and increasingly diverse requirements.

          FINDING:  The IC needs a corporate understanding of its
          collection and production capabilities and how it uses
          these resources to meet intelligence requirements.  The
          IC also needs a strategic vision outlining what resources
          will be needed in the 21st century to fulfill likely
          intelligence requirements.

          FINDING:  Presidential Decision Directive 35 (PDD-35) has
          focused the IC on important near-term, high priority
          requirements.  However, PDD-35 has begun to drive
          intelligence collection and production at the expense of
          lower "tier" issues.

          FINDING:  The IC's ability to maintain an intelligence
          "base" on many lower tier issues is threatened not only
          because of PDD-35's unintentional effect on collection
          and production, but also because the IC currently has no
          mechanism to ensure a basic level of coverage on "lower
          tier" countries.

          RECOMMENDATION:  The IC should fulfill PDD-35
          requirements, but also maintain the capability to have a
          basic level of worldwide coverage.

          RECOMMENDATION:  The DCI should direct the CMS to devise
          a strategic plan, which should be updated yearly if
          necessary, outlining national security issues and gaps
          that the IC will likely face 10 to 15 years into the
          future.

          RECOMMENDATION:  The National Intelligence Evaluation
          Council (NIEC) should be responsible for the
          Comprehensive Capabilities Review.  The review should be
          updated continuously, taking the DCI's strategic plan
          into account, to assess the IC's worldwide
          collection/analytical capabilities and gaps against all
          tier issues.

          RECOMMENDATION:  The IC should implement a "virtual
          analytic environment" to link collectors, exploiters,
          analysts and customers electronically, as appropriate, to
          improve the IC's responsiveness to customer needs.  DIA's
          test-bed plan, JIVA (Joint Intelligence Virtual
          Architecture), is a useful place to start.

          RECOMMENDATION:  Intelligence managers should function
          less as intermediaries who control the information flow
          to and from policy-makers and more as facilitators who
          ensure that valid requirements are fulfilled with
          appropriate resources.  Managers should also ensure that
          intelligence does not become politicized as a result of
          the close policy-maker/analyst working relationship.

     Collection Synergy.  Once requirements have been established,
the next major decision is the allocation of resources to meet
these requirements, especially the resources required to collect
needed intelligence.

     No other nation has collection capabilities comparable to
those of the United States.  In terms of breadth and depth, the
United States has enjoyed a vast superiority as the result of major
investments and a great deal of hard work.

     Intelligence experts speak to one another about collection
disciplines, i.e., the basic groups into which collection fall:

     SIGINT:   signals intelligence;
     IMINT:    imagery;
     MASINT:   measurement and signature intelligence;
     HUMINT:   human intelligence; and, most recently,
     OSINT:    open sources.

     These five groups have not developed evenly and are not
managed in similar manners.  Ideally, they should provide an array
of information, allowing analysts to confirm intelligence gleaned
from one discipline by comparing it with that gathered from others
-- creating a true synergy.  Each discipline has particular
strengths and weaknesses, working better or worse than others
against particular intelligence problems.  Together, it is hoped
that they will minimize uncertainty and amplify that which is
known.

     As managed today, there are impediments towards achieving this
synergy.  Among the most obvious is the problem of stovepipes, the
fact that each discipline is managed with a great deal of
independence from the others.  As noted above, rather than being
allies, they become competitors, especially when intelligence
budgets are being developed.  This internecine competition
undercuts much of the hoped-for synergy and can become increasingly
debilitating.

          FINDING:  The U.S. has derived tremendous benefit from a
          balance and interaction among the three technical
          intelligence disciplines (SIGINT, IMINT, MASINT), HUMINT
          and open sources.  However, the IC has not managed
          collection consistently across the various INTs, thereby
          decreasing efficiency and productivity.

          FINDING:  This benefit could erode unless greater
          attention is given to closer central management and
          coordination among all INTs.

          FINDING:  Recent international and political changes and
          technological advances have greatly increased the quality
          and quantity of open source information.

          FINDING:  "All-source" analytical skills are central to
          future intelligence capabilities and need increased
          emphasis.

          RECOMMENDATION:  A CMS with IC-wide authority over, and
          coordination of, requirements, resources and collection
          would greatly aid collection synergy.

          RECOMMENDATION:  To the extent possible, there should be
          common standards and protocols for technical collection
          systems, from collection through processing, exploitation
          and dissemination.

          RECOMMENDATION:  The IC must continue to develop improved
          means of collecting, exploiting and processing open
          source information.  There must be a concerted effort to
          educate intelligence producers and consumers regarding
          the utility of open source information.

          RECOMMENDATION:  The IC must improve its ability to
          retrieve data from common databases.  These databases
          must be checked thoroughly by those responsible for
          requirements and analysis before new collection tasks are
          levied.  Collection should be guided by the use of the
          least costly, most efficient and most productive means,
          whether overt or covert.

     Collection:  Launch.  Spaceborne technical collection systems
are useless unless there are adequate means of putting them into
orbit.  It is a truism, worth repeating, that launch vehicles must
be considered a critical part of our overall intelligence
collection architecture.

          FINDING:  Launch vehicles will remain a critical
          component of the U.S. intelligence collection
          architecture.

          FINDING:  The U.S. needs simple, reliable, affordable
          launch vehicles.  The Titan-IV launch vehicle is not the
          best means of ensuring a viable 21st century collection
          architecture.  Other options -- such as new launch
          vehicles and changes in satellite design -- must be
          pursued.

          FINDING:  Current launch vehicles are becoming
          prohibitively expensive.

          RECOMMENDATION:  If technically feasible, all IC payloads
          should be taken off the Titan-IV.  No Titan-IVs should be
          purchased by the IC after the 1997 buy, and even that
          should be reconsidered.

          RECOMMENDATION:  The U.S. should examine the viability of
          advanced technologies to reduce the size of satellites.

          RECOMMENDATION:  The Air Force should modify its Evolved
          Expendable Launch Vehicle (EELV) program to focus solely
          on the heavy lift problem.  The U.S. government should
          take advantage of the Medium Launch Vehicle (MLV)
          competition between McDonnell Douglas and Lockheed Martin
          in order to keep MLV costs low.

          RECOMMENDATION:  All IC payloads, during their current
          redesign phase, should incorporate the "ship and shoot"
          approach (i.e., payloads arrive at the launch site ready
          for launch, with no on-site assembly, testing, etc.).

          RECOMMENDATION:  All IC payloads, during the current
          redesign phase, should conform to the standard interface
          of the launch vehicle.  NRO MLV class payloads should be
          compatible with both the Atlas IIAS/R and the Delta 3.

     Technical Collection: SIGINT, IMINT, MASINT.  Detailed
discussions of these collection disciplines and plans for future
capabilities are, of course, highly classified.  However, there are
broad points at issue that can be discussed on an unclassified
basis.

     SIGINT.  SIGINT is an extremely valuable capability, allowing
the observation of activity through the content and pattern of
signals and giving insights into intentions.  It is responsive to
a large number of the issues with which the IC is now dealing and
will continue to do so into the foreseeable future.

          FINDING:  SIGINT provides a valuable capability both to
          observe activity and to gauge intentions.  It will
          continue to be a critical element of the IC for the
          foreseeable future.

          FINDING:  The SIGINT system performs well, but is at a
          crossroads.  The proliferation of digital communications,
          fiber optic cable, sophisticated encryption and
          signalling techniques are major technical challenges,
          both for collection and processing.  Growth in one
          telecommunications medium does not detract from the
          others; all types of communications are increasing.  The
          ability to intercept all of these media is important for
          several reasons:  different types of information use
          different communications media; pieces of the same
          message may travel different routes; multi-source
          collection makes deception by current or potential
          adversaries more difficult.

          FINDING:  SIGINT is already the most expensive of the
          collection disciplines.  Balancing the required level of
          investment in technology with the maintenance of existing
          core capabilities is the true challenge for SIGINT in the
          21st century.

          RECOMMENDATION:  Improve the management and focus of
          SIGINT R&D to ensure that critical areas are adequately
          funded.

          RECOMMENDATION:  Mandate a review of the overall
          Electronics Intelligence (ELINT) architecture and the mix
          of available collection platforms.

          RECOMMENDATION:  Examine the feasibility of smaller
          platforms to reduce the cost of certain collection.

          RECOMMENDATION:  Continue to press for a unifying policy
          on Information Warfare (IW) from the Administration. 
          Clarify the management and direction of offensive IW
          activities in peacetime and in support of military
          operations.

          RECOMMENDATION:  Reduce numbers of different airborne
          SIGINT platforms while increasing overall numbers of
          aircraft; develop and implement a common ground
          processing architecture for airborne SIGINT operations. 
          Develop SIGINT payloads for use on Unmanned Aerial
          Vehicles (UAVs).

     IMINT.  The utility of imagery will continue both for those
issues with which it is most often associated -- indications and
warning, and military operations -- but also for many of the
transnational issues that appear to be increasingly important in
the late 20th century.

          FINDING:  IMINT will continue to be an important
          collection discipline for a wide variety of issues: 
          indications and warning; support to the military; and
          monitoring arms control agreements, refugee flows,
          narcotics cultivation and ecological problems.

          FINDING:  Given present trends, the number of images
          collected will continue to outpace our ability to analyze
          them.

          FINDING:  Collection costs continue to rise at the
          expense of processing and exploitation.

          FINDING:  Imagery analysts are working with archaic
          tools; the current acquisition process does not
          facilitate the timely infusion of new technology.

          FINDING:  The imagery community is badly fragmented.  Any
          restructuring should be considered only within the wider
          context of all other intelligence functions and
          activities.

          FINDING:  "Denial and deception" activities by foreign
          governments are a current problem.  As U.S. imagery
          capabilities become more widely known, this problem will
          likely grow.

          FINDING:  The IC can use commercial imagery more
          effectively to meet some requirements.

          FINDING:  Imagery dissemination to the military below the
          Joint Task Force level remains a problem.

          FINDING:  The imagery community is not currently able to
          satisfy the requirements for both immediate and detailed
          analysis.

          RECOMMENDATION:  The IC must improve its acquisition and
          use of commercially-available imagery.  Such imagery can
          be used in lieu of more costly national assets.  As
          demands to share imagery with non-Allies during
          multilateral operations increase, the use of commercial
          imagery is especially important to obviate security
          concerns.

          RECOMMENDATION:  Set up an account for the easy purchase
          of commercial imagery, done under common U.S. government
          licenses.  A central repository and indexing system
          should be created for easy access by all users.

          RECOMMENDATION:  The IC must move to all-digital
          exploitation of imagery, with access to cross-INT
          databases.  Move to a "virtual analytic  environment,"
          i.e., one in which analysts are connected electronically. 
          Increase funding to accelerate the procurement of
          softcopy (digital) workstations for imagery analysts.

          RECOMMENDATION:  The IC should move aggressively to
          infuse new technologies, such as automatic target
          recognition capabilities, in order to help streamline the
          imagery exploitation process.

          RECOMMENDATION:  Expand the purview of the National
          Technical Alliance, increasing its resources and
          flexibility to provide more rapid fielding of new
          technologies, and to exploit commercially available
          technology. 

          RECOMMENDATION:  The IC must continue to examine and to
          field means by which to overcome "denial and deception"
          activities.

     MASINT.  MASINT -- measurement and signals intelligence -- is
undoubtedly the least understood of the various collection
disciplines.  This is unfortunate, both for its own sake and
because MASINT will continue to be an important source for military
planners, during military operations, and for monitoring arms
control and proliferation activities.

          FINDING:  MASINT, as a specific and unique discipline, is
          not well understood by either the IC or policy consumers. 
          Therefore, the potential of its future contributions,
          particularly to tactical applications, may be limited.

          FINDING:  MASINT will become increasingly important in
          providing unique scientific or highly technical
          information contributions to the IC.  It can provide
          specific weapon identifications, chemical compositions
          and material content and a potential adversary's
          capability to employ weapons.

          FINDING:  The Central MASINT Office (CMO) has the
          requisite legal authorities to carry out its
          responsibility of managing MASINT.  However, it is not
          staffed commensurate with its responsibilities, and a
          fractured organizational structure limits its overall
          management abilities.

          FINDING:  MASINT is a science intensive discipline that
          needs personnel well-versed in the broad range of
          physical and electrical sciences.  Such personnel cannot
          typically be professionally developed within the IC. 
          They must come from academia fresh with the scientific
          knowledge from experimentation and research.  Nor can
          they continue to be proficient in their areas of
          expertise if they are maintained in government employ for
          an entire career.

          RECOMMENDATION:  The IC should create a U.S. MASINT
          System analogous to U.S. SIGINT and U.S. IMINT Systems
          (USSS and USIS).

          RECOMMENDATION:  The MASINT manager should be a general
          officer or SES, and should be a member of the Military
          Intelligence Board, National Foreign Intelligence Board
          and other senior DCI and DOD boards and panels.  His
          authorities to manage MASINT should be on par with those
          of the SIGINT and IMINT managers.

          RECOMMENDATION:  Training is critical.  The IC needs to
          increase emphasis on informing the IC and consumers about
          MASINT capabilities and products.  Additionally, the IC
          needs to make MASINT a formal course of professional
          education for all IC school houses.

          RECOMMENDATION:  The IC should examine the feasibility of
          pursuing trial personnel management programs that provide
          incentives to recruit the necessary scientific experts. 
          Such experts may not spend a 20-30 year career in
          government employ.

     Clandestine Service.  In addition to the legislative proposals
for the CS described above, there are other management issues that
need to be addressed.  These include civilian and military
personnel management, the CS's role in operations, and the
management of operations overseas.

          RECOMMENDATION:  The IC's personnel system should ensure
          the recruitment of highly qualified junior employees, the
          development of technical clandestine operators and
          managers, and the aggressive removal of marginal and
          unsuitable employees.

          RECOMMENDATION:  The military cadre of the CS should
          consist of military clandestine operations officers
          having a viable military career track within that
          specialization and of the same high professional and
          personal qualifications as the civilian cadre.

          RECOMMENDATION:  The DCI needs to reaffirm and reiterate
          throughout the IC his designation of the CS's role to
          lead the IC in its conduct of foreign "clandestine
          operations," i.e., espionage, counter-espionage, covert
          action and related intelligence liaison activities
          abroad.

          RECOMMENDATION:  The CS's Chiefs of Station should act as
          the U.S. Government's on-site focal point for the
          deconfliction of all intelligence and law enforcement
          activities abroad, with an appeal process functioning
          through the Ambassador and/or a Washington-based
          interagency mechanism.

          RECOMMENDATION:  The CS should have at least a minimal
          presence in most countries (a "global presence") so as to
          maintain a broader base-line contingency capability and
          to respond to transnational collection requirement.

          RECOMMENDATION:  The management of clandestine operations
          requires an extraordinarily high level of management
          attention, operational expertise and coordination. 
          Managerial and personnel assignments must be consistent
          with this fact.

     IC "Surge" Capability.  Unpredictability is one of the facts
of life of any intelligence system.  No requirements process will
be able to predict all of the issues that are likely to be of
paramount interest to policy-makers in the course of any given
year.  Indeed, flexibility of all resources -- technical and
personnel -- are necessary in order to respond quickly to new
events.  This problem of requirements and resources has been made
increasingly difficult in the post-Cold War world.  The end of the
Cold War not only removed the single overwhelming focus of the IC,
but also contributed to a breakdown of international order in
specific regions, particularly the growth of ethnic warfare, and
exacerbated a number of transnational issues.

     The ability of the IC to "surge" resources -- i.e., to focus
collection and analysis, and sometimes operational capabilities --
on suddenly important areas, is of increasing importance.  One of
the witnesses at an IC21 hearing, Ambassador Robert Kimmitt, former
Under Secretary of State for Political Affairs, put it succinctly
when he said that IC coverage must be an inch deep and a mile wide,
with the ability to go a mile deep on any given issue.

          FINDING:  The ability to meet future challenges
          effectively will require:  increased internal operating
          efficiencies; a more collective, corporate approach
          toward utilization of resources; and structured programs
          that provide continuous force augmentation and "surge"
          capability.

          FINDING:  A flexible, dynamic and well-planned surge
          capability must be developed that can be relied upon both
          day-to-day and during crises.

          RECOMMENDATION:  Development of more flexible collection
          capabilities should not only include moving to smaller
          satellites, but also to developing and incorporating
          "tactical" satellites that would allow for a "surge" in
          collection capability for specific crises.

          RECOMMENDATION:  The DCI's ability to establish IC
          Centers and Task Forces quickly (including the rapid
          transfer of personnel and resources throughout the IC)
          must be enhanced and should include the ability to bring
          "surge" resources into the IC from other areas.
          RECOMMENDATION:  Better utilization of existing military
          reserve components is also required.  Consideration
          should be given to placing some of these components under
          the DMI for better utilization during time of need.

     Support to Military Operations.  Support to military
operations (SMO) is one of the major roles of intelligence.  Some
argue that it is the major role of intelligence.  The Clinton
administration -- both policy makers and senior intelligence
managers -- has stated that SMO is the top priority for
intelligence.  Critics question why this statement is necessary,
given that much of the IC's effort has always been shaped around
this specific intelligence role and that, in the post-Cold War
world, U.S. national security is actually less threatened than at
any time since 1940.

     This debate over SMO is important as it goes to the heart of
both requirements and resources.  Intelligence is not an easily
expanded resource.  As noted in the discussion on the IC's ability
to surge, covering current requirements and taking steps to address
unexpected ones is difficult at best.  The more resources devoted
to any one area, the fewer there are left to address others.  The
issue is not whether the IC should devote resources to SMO, but
rather how much SMO is reasonable given other, competing demands on
a fiscally constrained IC.

     SMO is, to some extent, a contingent need.  At least through
the Cold War, U.S. defense policy had been shaped around the idea
of deterring combat, of using force as a last resort.  Other, non-SMO,
policy needs are current -- diplomacy, narcotics, terrorism,
proliferation.  Thus, a balance needs to be struck.  Urging an
increased emphasis on SMO without looking across the board at all
IC requirements runs the risk of leaving many other ongoing policy
needs partially or completely unfulfilled.  

          FINDING:  The current demands being placed on the IC to
          support military operations will make it difficult for
          the IC to meet the broader national security challenges
          of the 21st century.

          FINDING:  Currently, SMO demands are being satisfied at
          the expense of maintaining the necessary
          intelligence"base" that will be critical to the IC in
          addressing future national security needs.

          FINDING:  Maintaining both the "base" and SMO represent
          valid concerns.  SMO requirements must not stand alone,
          apart from other intelligence requirements.

          FINDING:  The IC must develop and maintain a balanced
          approach in satisfying these concerns.  The IC must
          ensure that the "base" is maintained even during periods
          of crisis, when IC resources can easily be overwhelmed by
          all-consuming SMO requirements.

          FINDING:  The new operational strategy, Dominant
          Battlefield Awareness, will require significant advances
          in technology, development of consolidated requirements,
          coherent tasking management and synergistic intelligence
          collection capabilities.  It is necessary to give serious
          thought to the amount of IC resources likely to be
          available to support such strategies.

          FINDING:  Emphasis on concepts such as "sensor-to-shooter"
          have promoted the dissemination of intelligence
          data and products to the lowest level of military
          operations, without full consideration of the effect on
          the "warfighter."

     IC Centers.  The IC began using centers in 1986 as a means of
addressing certain long-term issues on an IC-wide basis.  At
present there are seven such centers, covering the issues of arms
control, non-proliferation, terrorism, counterintelligence,
counternarcotics and organized crime, and overseas security.

     IC21 examined the concept of centers with a view towards
determining whether they represented a better way to organize IC
efforts, or if they were merely an organizational fad.  Moreover,
if they were a better concept, what implication did this have for
the more traditional offices in CIA and the other major
intelligence agencies?  We concluded that this concept was
successful in addressing specific, enduring issues and serving as
IC focal points for these issues.  Indeed, it would appear that
centers will be even more important in an IC that puts greater
emphasis on corporate management concepts.

          FINDING:  Centers are successful in addressing critical,
          enduring intelligence issues on an IC-wide basis and
          should continue to be used as necessary.

          FINDING:  There are several types of centers; they do not
          all perform the same functions.

          FINDING:  IC-wide representation within Centers is
          insufficient and must be increased.

          RECOMMENDATION:  Centers should be subject to a mandatory
          five year "sunset" review process under the DCI's
          direction.

          RECOMMENDATION:  The Directors of the Nonproliferation,
          Crime and Narcotics, Counterterrorist, National
          Counterintelligence and Arms Control Intelligence Staff
          (renamed the Arms Control Intelligence Center) should
          also serve as IC issue managers.

          RECOMMENDATION:  Although the center directors will serve
          as issue managers within the CIA, the centers should be
          located and managed within the IC based upon their unique
          attributes and principal roles:
               The National Counterintelligence Center functions
          principally as a policy and coordination body and should
          continue to come under the NSC.
               The Arms Control Intelligence, Nonproliferation, and
          Crime and Narcotics Centers should come under the CIA.
               The Counterterrorism Center and the
          Counterintelligence (renamed the Foreign
          Counterintelligence) Center should come under the CS.
               The Center for Security Evaluation should come under
          the ISO.

          RECOMMENDATION:  To facilitate IC participation in
          centers, the IC should develop a consistent policy
          regarding reimbursable billets and reimbursement of
          travel expenses.  An appropriate amount of money should
          be designated in the authorization specifically to fund
          these center expenses.

          RECOMMENDATION:  The IC personnel evaluation and
          promotion systems must accurately reflect and reward the
          performance of employees detailed to centers.

     Intelligence and Law Enforcement.  One of the hallmarks of
those transnational issues that have moved to the top of the IC
agenda in the post-Cold War world is that they tend to straddle
intelligence and law enforcement concerns.  Concerns about
safeguarding fundamental civil liberties have dictated a strict
division between these two spheres.  For example, the National
Security Act mandates that the CIA will have no "police, subpoena,
law-enforcement powers, or internal security functions."

     Issues such as narcotics, crime, terrorism and proliferation
make the maintenance of this division more difficult.  Having said
that, it would appear that current provisions in law and in
executive orders are sufficient to maintain the necessary
difference without impeding the kind of cooperation between
intelligence and law enforcement that most believe is necessary.

          FINDING:  The National Security Act and existing
          Executive Orders are sufficiently flexible to allow
          improved cooperation between law enforcement and
          intelligence without blurring the important distinctions
          between the missions and authorities of the two
          communities.

          FINDING:  Increased joint training is essential to closer
          cooperation and coordination between the two communities.

          RECOMMENDATION:  Congress should consider statutory or
          other language that will set forth "reasonable"
          expectations of IC reporting on criminal activities.

          RECOMMENDATION:  Within law enforcement agencies,
          information management and policies must be improved to
          facilitate sharing appropriate information with the IC
          that has been collected during the course of law
          enforcement investigations.

          RECOMMENDATION:  Each law enforcement agency should be
          responsible for its own coordination with the CS.

     IC Communications.  The relationship between communications
and intelligence has been a difficult one for the U.S. government. 
The two functions have a certain degree of inter-relationship based
on the need to be able to pass intelligence from collectors to
analysts and from analysts to policy consumers on a timely basis. 
Some have even suggested that this is the critical problem in
disseminating intelligence.

     It is important to distinguish between the two related but
different parts of this issue.  The IC is responsible for
dissemination, the actual movement of intelligence products to
their intended audience among policy makers.  However, the
technical or physical means by which this dissemination occurs are
not and should not be responsibilities of the IC.  

          FINDING:  Communications is often cited as the most
          critical problem in disseminating information to users in
          a timely fashion.  Timely delivery of intelligence
          products to consumers in the proper form is generally an
          intelligence weakness.

          FINDING:  The IC is responsible to its consumers for
          timely dissemination of its products in the required
          forms and format.  The development, procurement,
          management and maintenance of communications needed to
          disseminate these products are not, and should not be
          core competencies for the IC.

               "Communications" is defined narrowly as the
               conduit(s) for moving data from one point to
               another.  This includes the standards necessary to
               interface hardware and software at either end of
               the communications conduit.

          FINDING:  The communications community is best suited for
          providing specific standards and interface protocols to
          communications users to ensure interoperability.  It is
          also best suited to provide the majority of U.S.
          government communications paths.

          FINDING:  Managing Command, Control and Communications
          (C3) with intelligence in Defense, amalgamates these two
          activities, to the general disadvantage of intelligence,
          which tends to get shorter shrift and is overwhelmed by
          the much larger communications presence.

          RECOMMENDATION:  The IC should not have communications as
          a core competency.  It should be a communications user,
          with specifically identified requirements, and should not
          directly contract for communications "bandwidth."

          RECOMMENDATION:  The IC must complete a thorough study of
          total IC communications needs and provide the results to
          the communications community.  Such a study must be
          continuously reviewed and updated as new requirements
          emerge and as new capabilities and technologies are
          brought into service.

          RECOMMENDATION:    The IC should maintain a consolidated
          core of communications professionals whose primary tasks
          will be to act as the "technological knowledge bridge"
          between the providers and the IC, to define
          communications standards for the IC and to review current
          capabilities and develop migration plans to meet
          developed architectures and standards.

          RECOMMENDATION:  The IC should be fully compliant with
          the standards of emerging U.S. communications systems
          whenever and wherever possible, to ensure required data
          movement.

          RECOMMENDATION:  The IC should invest to ensure that its
          system for collection, processing and analysis can access
          a communications point for dissemination.

          RECOMMENDATION:    The IC must also invest to ensure the
          capability to service unique communications requirements
          that cannot be satisfied by the communications community. 
          An example of this would be support for clandestine
          communications.

          RECOMMENDATION:  The communications infrastructure
          supporting intelligence dissemination must move to
          support a "virtual worldwide architecture."

          RECOMMENDATION:  The IC must do a better job of putting
          intelligence into a form that is usable with the users'
          systems.

          RECOMMENDATION:  The Secretary of Defense should exercise
          his authority to create a separate Assistant Secretary of
          Defense for Intelligence, reporting directly to the
          Deputy Secretary of Defense.

 Figure 3:  IC21 Objective Community 

                       Figure 3:  IC21 Objective Community

 Figure 4:  IC Functions 
    
                       Figure 4:  IC Functions

 Figure 5:  IC Structure and Flow 
                       Figure 5:  IC Structure and Flow